在连续性生产的破碎过程中发现:立式垂直进料破碎机生产过程中发现:立式垂直进料破碎机的生产过程为间隙式,为了保证生产过程的稳定性,要保证料斗时刻处于满料状态,但是活塞在对垃圾压缩后的上升阶段,垃圾由于受到的压力顿时减少,破碎效率明显降低几乎不破碎,而与此同时,破碎室的刀片仍在旋转基本处于空转状态,造成了能量无谓消耗。
为了实现生产过程的连续性,降低不必要的能力消耗,有必要对破碎机进行改进,将垂直单向进料破碎机设计成双向进料的卧式破碎机,其结构如下。

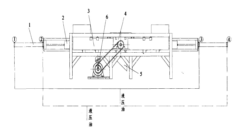
双向进料破碎机结构示意图
1-邮缸 2-压块 3-压缩室 4-破碎室 5-出料口 6-电机
卧式双向进料破碎机由两个相对称的压缩系统组成,共用同一动刀组进行破碎。液压站与两个油缸的链接方式如下所示,其工作过程如下:液压油由液压站上的出油口一分别进入左侧活塞的进油口1和右侧活塞的进油口3,分别推动左侧活塞向右运动和右侧活塞向右运动,当两侧活塞同时到达顶点后,液压油再经液压站上的出油口分别进入左侧活塞的油口2和右侧活塞的进油口4,推动两侧活塞向左运动,此时两侧活塞中原有的液压油分别通过进油口1和3经出油口一回到液压站。
下一篇: 双向进料卧式破碎机的工作过程
2021-11-30
2021-11-15