破碎机在生产之前首先进行生产前的设计,只有提起对破碎机的结构有初步的设计才能适应市场的需求,下面就来介绍下破碎机破碎室与压缩室的结构设计过程。
破碎室的功能是实现垃圾的破碎,破碎室主要由动刀片和定刀片组成,动刀片通过键固定在转轴上,转轴带动动刀片高速旋转对物料进行剪切为主冲击为辅的破碎以及通过动刀片和定刀片之间的配合对物料进行啮合破碎。为了便于检修,破碎室通过法兰与压缩室相连接,下部通过法兰固定在破碎机机架上,如下图

破碎室结构图
1-动刀片 2-定刀 3-破碎室法兰 4-压缩室 5-压缩室法兰 6-破碎室
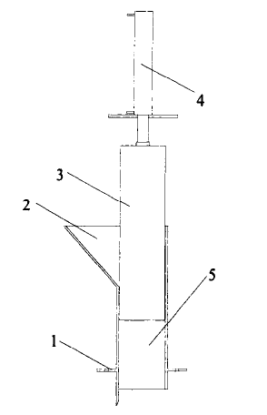
压缩室的核心功能是实现垃圾破碎前的预压缩处理,压缩室主要由料斗和压头组成,要求料斗同压头紧密配合,实现对垃圾的压缩处理。
工作过程如下:将分选处理后的垃圾装入料斗,通过液压驱动活塞带动压头在对料斗内的垃圾进行压缩。压缩室上部设有进料口,压头链接活塞悬垂在进料口出,压缩室下部设有法兰板,通过法兰与破碎室相互连,压缩室结构如下图

压缩室结构图
1--法兰板 2--进料口 3-压头 4-活塞 5-料斗
上一篇: 破碎机动刀与定刀的结构设计方案
下一篇: 破碎机料斗与进料方式的设计
2021-11-30
2021-11-15