红星冲击破碎机属涡流冲击式破碎机,近年来在国内被迅速推广。红星破碎机主要是利用物料颗粒之间相互冲击而破碎,所以产品的粒度主要取决于物料相撞时的动能,即转子的周边线速度,加入物料的粒度和物料本身的特性,特别是脆性的大小,越是硬脆的物料,破碎的效果越好。对某些脆性程度差一些的物料,或对产品粒度要求更细一些时,可在破碎腔内安装反击衬板,让物料直接与反击衬板想撞。该机具有重量轻、处理能力大、功耗低、钢耗小、破碎比大、适应能力强、维修简单等优点。把他安装在球磨机粗碎工序前作预粉碎可较大幅度地提高球磨机的产量,较大幅度地降低球磨机的电耗。
电机通过三角皮带驱动装置和转子高速旋转。从进料装置进入的物料,通过转子上部的给料管进入转子,被分配锥均匀地分布在转子的各个通道中,物料在通道内被加速 ,在极短时间内达到使物料足以破碎的速度 ,高速抛出的物料与机体内的衬板碰撞,形成第一破碎 ,随后第一次破碎的物料又受到继续抛出的物料的碰撞,形成物料与物料之间的多次碰撞,从而达到破碎物料的目的。

冲击式破碎机工作原理

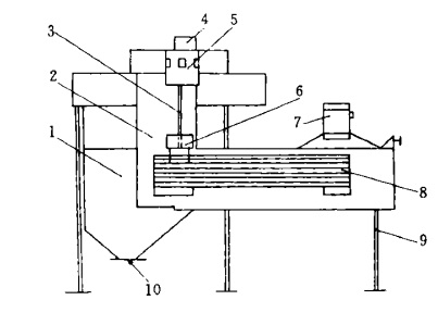
1机体 2水套 3主轴 4进料装置 5转子 6轴承 7电机 8 传动装置 9机架 10出料口
冲击式破碎机结构
使用破碎机前的物料粒径为77.1mm;使用后为19.4mm;。使用前的平均粒径为27.4mm;使用后为4.0mm;平均粒径下降85.4%,小于0.9mm的提高了394.4%。大于8mm的降低85.3%
使用红星冲击式破碎机后,球磨机以粉磨为主。球磨机的装球和级配做了一些调整。钢球有100mm减小到了80mm。降低了钢球和球耗。磨机的台时产量也大幅提高。磨机的台时产量从使用前的平均11.9t/时提高到了现在的平均13.98t/h,提高了2.08t/h,提高了17.5%,水泥电耗由使用前的平均34.5kwh/t降低到30.8wh/t,下降了3.7kwh/t,下降10.7%,水泥质量也达历史新水平。
上一篇: 水泥粉磨生产中离不开冲击式破碎机
下一篇: 冲击式破碎机安装位置的确定及安装注意事项
2018-11-01
2018-04-24